HTF(A)系列消防高温排烟轴流风机 机号:4#-15# 风量:2300-93800m3/h 全压:102-819Pa 特点:轴流轮毂式叶轮、采用高温电机,电机全封闭内置,设有专门的电机冷却系统效率高、噪声低、结构合理、体积小、安装方便。 应用:高层建筑、烘房、地下车库、地铁、隧道等消防排烟及送排通风,双速风机低速用于平时通排风、高速时为消防排烟 性能参数 HTF(A)-Ⅰ(Ⅱ) 型 ( 单、双速 ) 机号 | 转速 (rpm) | 风量 (m 3 /h) | 风压 (Pa) | 单速功 率 (kW) | 双速功 率 (kW) | 噪声 dB(A) | 重量 (Kg) | 机号 | 转速 (rpm) | 风量 (m 3 /h) | 风压 (Pa) | 单速功 率 (kW) | 双速功 率 (kW) | 噪声 dB(A) | 重量 (Kg) | 4 | 2900 | 6500 5200 4600 | 410 490 520 | 1.5 | 1.8/1.3 | 77 | 76 | 8 | 1450 | 31421 29172 26012 | 600 661 723 | 7.5 | 8/6.5 | 89 | 230 | 1450 | 3250 2600 2300 | 102 122 130 | 0.55 | 73 | 69 | | 960 | 20800 19314 17222 | 263 290 317 | 3 | | 80 | 211 | 4.5 | 2900 | 7900 5800 500 | 510 590 670 | 2.2 | 2.4/2 | 78 | 88 | 9 | 1450 | 33510 32297 27513 | 562 668 840 | 11 | 11/9 | 90 | 284 | 1450 | 3950 2900 2500 | 127 147 167 | 0.75 | 74 | 80 | | 960 | 22186 21383 18216 | 246 293 368 | 4 | | 81 | 230 | 5 | 2900 | 9824 8861 6817 | 510 610 752 | 3 | 3/2.4 | 80 | 110 | 10 | 1450 | 45679 40000 35000 | 630 690 770 | 11 | 11/9 | 88 | 310 | 1450 | 4912 4431 3410 | 127 153 188 | 1.1 | 75 | 96 | | 960 | 30255 26483 24019 | 276 302 338 | 5.5 | | 80 | 265 | 5.5 | 2900 | 15200 12000 10900 | 398 592 621 | 4 | 4/3 | 86 | 135 | 11 | 1450 | 51552 50128 48500 | 580 647 690 | 15 | 16/13 | 92 | 380 | 1450 | 7600 6000 5450 | 100 148 155 | 1.5 | 75 | 115 | | 960 | 35664 37596 36375 | 326 364 387 | 5.5 | | 83 | 335 | 6 | 2900 | 16090 15102 13197 | 510 610 760 | 5.5 | 5.5/4.5 | 86 | 164 | 12 | 960 | 62763 59300 55651 | 624 680 740 | 18.5 | 17/8 | 93 | 480 | 1450 | 8045 7551 6599 | 127 153 190 | 1.5 | 75 | 130 | | 720 | 47072 44475 43311 | 351 383 416 | 11 | | 83 | 430 | 6.5 | 1450 | 21500 18000 15300 | 425 620 680 | 5.5 | 5.5/4 | 88 | 180 | 13 | 960 | 74708 65370 56031 | 600 710 807 | 18.5 | 17/8 | 94 | 520 | 960 | 14235 11918 10130 | 187 272 298 | 2.2 | 80 | 165 | | 720 | 56031 49027 42023 | 338 399 454 | 11 | | /84 | 470 | 7 | 1450 | 24380 22439 18908 | 610 655 728 | 7.5 | 8/6.5 | 88 | 208 | 15 | 960 | 93800 86115 76041 | 623 710 819 | 22 | 25/12 | 95 | 650 | 960 | 16141 14865 12518 | 267 287 319 | 3 | 80 | 189 | | 720 | 70350 64586 57031 | 350 410 461 | 11 | | 85 | 585 |
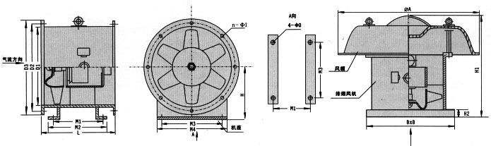
注:双速风机重量参考同号中高速风机的重量。 HTF(A)型风机外尺寸表(单位:mm)  机号 | D1 | D2 | D3 | M1 | M2 | M3 | M4 | L( Ⅰ型 ) | L( Ⅱ型 ) | n-Φ1 | 4-Φ2 | H | H1 | Φ A | B | B2 | 4 | 410 | 446 | 476 | 340 | 380 | 200 | 300 | 580 | 600 | 8-8.5 | Φ 12.5 | 265 | 1040 | 890 | 600 | 60 | 4.5 | 460 | 496 | 526 | 350 | 390 | 250 | 350 | 600 | 640 | 8-8.5 | Φ 12.5 | 290 | 1060 | 890 | 650 | 60 | 5 | 510 | 551 | 586 | 380 | 420 | 300 | 400 | 650 | 650 | 8-8.5 | Φ 12.5 | 316 | 1120 | 1000 | 700 | 60 | 5.5 | 560 | 601 | 636 | 470 | 510 | 400 | 500 | 680 | 680 | 10-10.5 | Φ 12.5 | 352 | 1150 | 1000 | 750 | 60 | 6 | 610 | 656 | 696 | 540 | 580 | 400 | 500 | 700 | 700 | 10-10.5 | Φ 14.5 | 378 | 1170 | 1000 | 800 | 60 | 6.5 | 660 | 706 | 746 | 570 | 610 | 400 | 500 | 800 | 800 | 10-10.5 | Φ 14.5 | 402 | 1270 | 1220 | 850 | 80 | 7 | 710 | 756 | 796 | 570 | 610 | 500 | 600 | 800 | 870 | 10-10.5 | Φ 14.5 | 428 | 1270 | 1220 | 950 | 80 | 8 | 810 | 856 | 896 | 570 | 610 | 500 | 600 | 800 | 870 | 12-12.5 | Φ 14.5 | 488 | 1310 | 1340 | 1050 | 80 | 9 | 910 | 956 | 996 | 580 | 640 | 600 | 700 | 860 | 900 | 12-12.5 | Φ 16.5 | 538 | 1370 | 1650 | 1150 | 80 | 10 | 1010 | 1056 | 1096 | 580 | 640 | 600 | 700 | 860 | 900 | 12-12.5 | Φ 16.5 | 600 | 1530 | 1650 | 1250 | 80 | 11 | 1110 | 1158 | 1200 | 580 | 640 | 700 | 800 | 900 | 960 | 14-12.5 | Φ 16.5 | 650 | 1590 | 1800 | 1400 | 100 | 12 | 1210 | 1258 | 1298 | 730 | 800 | 800 | 900 | 1200 | 1200 | 14-12.5 | Φ 16.5 | 700 | 1650 | 1800 | 1500 | 100 | 13 | 1310 | 1363 | 1408 | 730 | 800 | 900 | 1000 | 1200 | 1200 | 16-12.5 | Φ 18.5 | 750 | 1650 | 1800 | 1600 | 100 | 15 | 1510 | 1563 | 1608 | 730 | 800 | 1040 | 1200 | 1200 | 1200 | 18-12.5 | Φ 18.5 | 850 | 1650 | 2500 | 1800 | 100 |
注:屋顶式风机基础高度应≥ 250mm HTF(A) 型风机配带消声器外形尺寸表 [配带图示消声器后风机可降噪约 8-20dB(A) ] 
注: D1 、 D2D 、 3 、 H 、 M3 、 M4 、 n-Φ1 、 4-Φ2 参加风机外形尺寸表 机号 | 进风端消声器 L1 | 出风端消声器 L2 | 3.5-6.5 | 500 、 700 、 1000 | 500 、 700 、 1000 | 7-10 | 750 、 1000 、 1250 | 750 、 1000 、 1250 | 11-15 | 1000 、 1250 、 1500 | 1000 、 1250 、 1500 |
|